(附源码)计算机毕业设计ssm飞羽羽毛球馆管理系统
项目运行环境配置:(Webstorm也行)+ Eclispe(IntelliJ IDEA,Eclispe,MyEclispe,Sts都支持)。项目技术:等等组成,B/S模式 + Maven管理等等。环境需要1.运行环境:最好是java jdk 1.8,我们在这个平台上运行的。其他版本理论上也可以。2.IDE环境:IDEA,Eclipse,Myeclipse都可以。推荐IDEA;3.tomcat环境
项目运行
环境配置:
Jdk1.8 + Tomcat7.0 + Mysql + HBuilderX(Webstorm也行)+ Eclispe(IntelliJ IDEA,Eclispe,MyEclispe,Sts都支持)。
项目技术:
SSM + mybatis + Maven + Vue 等等组成,B/S模式 + Maven管理等等。
环境需要
1.运行环境:最好是java jdk 1.8,我们在这个平台上运行的。其他版本理论上也可以。
2.IDE环境:IDEA,Eclipse,Myeclipse都可以。推荐IDEA;
3.tomcat环境:Tomcat 7.x,8.x,9.x版本均可
4.硬件环境:windows 7/8/10 1G内存以上;或者 Mac OS;
5.是否Maven项目: 否;查看源码目录中是否包含pom.xml;若包含,则为maven项目,否则为非maven项目
6.数据库:MySql 5.7/8.0等版本均可;
毕设帮助,指导,本源码分享,调试部署(见文末)
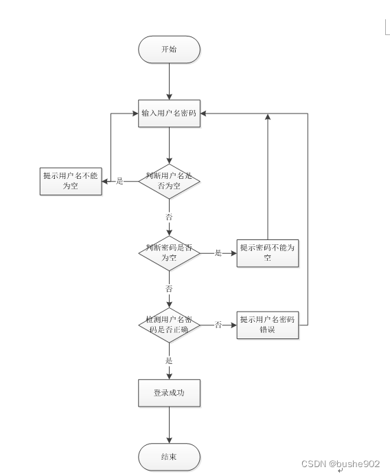
3.3系统流程和逻辑
系统业务流程图,如图所示:
图3-1登录流程图
图3-2添加信息流程图
图3-3注册信息流程图
4.1 概述
图4-1 系统工作原理图
4.2 系统结构
本系统架构网站系统,本系统的具体功能如下:
图4-2系统功能结构图
管理员功能结构图,如图4-3所示:
图4-3 管理员功能结构图
会员后台功能结构图,如图4-4所示:
图4-4会员后台功能结构图
4.3. 数据库设计
4.3.1 数据库实体
管理员信息结构图,如图4-5所示:
图4-5 管理员信息实体结构图
场地信息实体属性图,如图4-6所示:
图4-6场地信息实体属性图
报名信息管理实体属性图,如图4-7所示:
图4-7报名信息管理实体属性图
5.1 系统功能模块
飞羽羽毛球馆管理系统,在系统首页可以查看首页、场地信息、比赛活动、交流论坛、技巧知识、留言反馈、个人中心、后台管理等内容,如图5-1所示。
图5-1系统首页界面图
会员注册,在会员注册页面通过填写会员号、密码、姓名、手机、邮箱等信息完成会员注册,如图5-2所示。
图5-2会员注册界面图
场地信息,在场地信息页面可以查看区号、编号、图片、规模、面积、容纳人数、时价格、状态等详细信息,根据需要进行预约,如图5-3所示。
图5-3场地信息界面图
交流论坛,在交流论坛页面通过填写标题、类型、内容等进行发布帖子,如图5-4所示。
图5-4交流论坛界面图
留言反馈,在留言反馈页面通过输入留言内部并立即提交,如图5-5所示。
图5-5留言反馈界面图
个人中心,在个人中心页面可以查看会员号、密码、姓名、性别、手机、邮箱等信息,根据需要对我的发布、我的收藏进行相对应操作,如图5-6所示。
图5-6个人中心界面图
5.2管理员功能模块
管理员登录,管理员通过输入账号、密码、角色等信息即可进行系统登录,如图5-7所示。
图5-7管理员登录界面图
管理员登录进入飞羽羽毛球馆管理系统可以查看首页、个人中心、会员管理、场地区号管理、场地信息管理、场地预约管理、比赛活动管理、报名信息管理、留言板管理、交流论坛、系统管理等内容,如图5-8所示。
图5-8管理员功能界面图
会员管理,在会员管理页面可以查看索引、会员号、密码、姓名、性别、头像、手机、邮箱等信息,并可根据需要进行修改或删除等操作,如图5-9所示。
图5-9会员管理界面图
场地区号管理,在场地区号管理页面可以查看索引、区号、编号等信息,并可根据需要进行修改或删除等操作,如图5-10所示。
图5-10场地区号管理界面图
场地信息管理,在场地信息管理页面可以查看索引、区号、编号、图片、规模、面积、容纳人数、时价格、状态等信息,并可根据需要进行查看评论、修改或删除等操作,如图5-11所示。
图5-11场地信息管理界面图
场地预约管理,在场地预约管理页面可以查看索引、区号、编号、面积、时价格、预约时间、总价格、预约日期、会员号、姓名、是否支付、审核回复、审核状态、审核等信息,并可根据需要进行修改或删除等操作,如图5-12所示。
图5-12场地预约管理界面图
比赛活动管理,在比赛活动管理页面可以查看索引、名称、比赛类型、图片、比赛时间等信息,并可根据需要进行修改或删除等操作,如图5-13所示。
图5-13比赛活动管理界面图
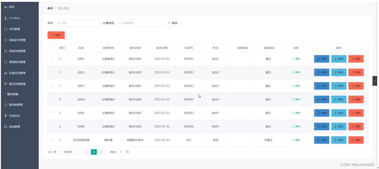
报名信息管理,在报名信息管理页面可以查看索引、名称、比赛类型、报名内容、报名日期、会员号、姓名、审核回复、审核状态、审核等信息,并可根据需要进行修改或删除等操作,如图5-14所示。
图5-14报名信息管理界面图
留言板管理,在留言板管理页面可以查看索引、用户名、留言内容、回复内容等信息,并可根据需要进行回复、修改或删除等操作,如图5-15所示。
图5-15留言板管理界面图
交流论坛,在交流论坛页面可以查看索引、帖子标题、用户名、状态等信息,并可根据需要进行修改或删除等操作,如图5-16所示。
图5-16交流论坛界面图
系统管理,在轮播图管理页面可以查看索引、名称、值等信息,并可根据需要对技巧知识进行相对应操作,如图5-18所示。
图5-18系统管理界面图
5.3会员后台功能模块
会员登录进入飞羽羽毛球馆管理系统可以查看首页、个人中心、场地预约管理、报名信息管理、我的收藏管理等内容,如图5-19所示。
图5-19会员后台功能界面图
个人中心,在个人中心页面通过填写会员号、姓名、性别、头像、手机、邮箱等信息对对个人信息进行修改,如图5-20所示。
图5-20个人中心界面图
场地预约管理,在场地预约管理页面可以查看索引、区号、编号、面积、时价格、预约时间、总价格、预约日期、会员号、姓名、是否支付、审核回复、审核状态等信息,并可根据需要进行删除等操作,如图5-21所示。
图5-21场地预约管理界面图
报名信息管理,在报名信息管理页面可以查看索引、名称、比赛类型、报名内容、报名日期、会员号、姓名、审核回复、审核状态等信息,并可根据需要进行删除等操作,如图5-22所示。
图5-22报名信息管理界面图
我的收藏管理,在我的收藏管理页面可以查看索引、收藏名称、收藏图片等信息,并可根据需要进行删除等操作,如图5-23所示。
图5-23我的收藏管理界面图
JAVA毕设帮助,指导,源码分享,调试部署

DAMO开发者矩阵,由阿里巴巴达摩院和中国互联网协会联合发起,致力于探讨最前沿的技术趋势与应用成果,搭建高质量的交流与分享平台,推动技术创新与产业应用链接,围绕“人工智能与新型计算”构建开放共享的开发者生态。
更多推荐
所有评论(0)