推流式搅拌器选型功率计算方法_反应釜搅拌器的分类与选型,还有特点!
搅拌器是反应釜关键部件之一,根据釜内不同介质的物理学性质、容量、搅拌目的等选择相应的搅拌器,对促进化学反应速度、提高生产效率能起到很大的作用。掌握搅拌器的分类及适用场合有助于选择合适的搅拌器,达到更好的反应效果,跟小编学起来吧!反 应 釜 的应用反应釜是广泛应用于石油、化工、橡胶、农药、染料、医药、食品,用来完成硫化、硝化、氢化、烃化、聚合、缩合等工艺过程的压力容器。反 应 釜 的 组 ...


搅拌器是反应釜关键部件之一,根据釜内不同介质的物理学性质、容量、搅拌目的等选择相应的搅拌器,对促进化学反应速度、提高生产效率能起到很大的作用。掌握搅拌器的分类及适用场合有助于选择合适的搅拌器,达到更好的反应效果,跟小编学起来吧!

反应釜是广泛应用于石油、化工、橡胶、农药、染料、医药、食品,用来完成硫化、硝化、氢化、烃化、聚合、缩合等工艺过程的压力容器。


反应釜由釜体、釜盖、夹套、搅拌器、传动装置、轴封装置、支承等组成。
1. 反应釜的壳体
壳体由圆形筒体,上盖、下封头构成。上盖与筒体联接有两种方法,,一种是盖子与筒体直接焊死构成一个整体;另一种形式是考虑拆卸方便,可用法兰联接。上盖开有人孔、手孔和工艺接管等。
2. 反应釜的搅拌装置
在反应釜中,为加快反应速度、加强混合及强化传质或传热效果等,反应釜一般都装有搅拌装置。它由搅拌器和搅拌轴组成,用联轴器与传动装置连成一体。
3. 反应釜的密封装置
在反应釜中使用的密封装置为动密封结构,主要有填料密封和机械密封两种。
反应釜搅拌器的分类与选型
反应釜搅拌器的作用
使物料混和均匀,强化传热和传质,包括均相液体混合;液-液分散;气-液分散;固-液分散;结晶;固体溶解;强化传热等。
反应釜搅拌原理

搅拌器是实现搅拌操作的主要部件,其主要的组成部分是叶轮,它随旋转轴运动将机械能施加给液体,并促使液体运动。
搅拌器旋转时把机械能传递给流体,在搅拌器附近形成高湍动的充分混合区,并产生一股高速射流推动液体在搅拌容器内循环流动。
反应釜搅拌影响因素
液体在设备范围内作循环流动的途径称作液体的“流动模型”,简称“流型”。

流型与搅拌效果、搅拌功率的关系十分密切。流型取决于搅拌器的形式、搅拌容器和内构件几何特征,以及流体性质、搅拌器转速等因素。

-
轴向流
流体流动方向平行于搅拌轴,流体由桨叶推动,使流体向下流动,遇到容器底面再向上翻,形成上下循环流。
-
径向流
流体流动方向垂直于搅拌轴,沿径向流动,碰到容器壁面分成二股流体分别向上、向下流动,再回到叶端,不穿过叶片,形成上、下二个循环流动。
-
切向流
无挡板的容器内,流体绕轴作旋转运动,流速高时液体表面会形成漩涡,流体从桨叶周围周向卷吸至桨叶区的流量很小,混合效果很差。
上述三种流型通常同时存在;
轴向流与径向流对混合起主要作用;
切向流应加以抑制—采用挡板可削弱切向流,增强轴向流和径向流。
反应釜搅拌器的分类及适用场合


桨式、推进式、涡轮式和锚式搅拌器在搅拌反应设备中应用最为广泛,据统计约占搅拌器总数的75~80%。

1. 桨式搅拌器

由桨叶、键、轴环、竖轴所组成。桨叶一般用扁钢或不锈钢或有色金属制造。桨式搅拌器的转速较低,一般为20~80r/min。桨式搅拌器直径取反应釜内径Di/3~2/3,桨叶不宜过长,当反应釜直径很大时采用两个或多个桨叶。
主要应用:桨式搅拌器适用于流动性大、粘度小的液体物料,也适用于纤维状和结晶状的溶解液,物料层很深时可在轴上装置数排桨叶。折叶式比平直叶式功耗少,操作费用低,故折叶桨使用较多。
桨式搅拌器不能用于以保持气体和以细微化为目的的气—液分散操作中。
桨式搅拌器的转速一般为20~100r/min ,其常用参数见下表:

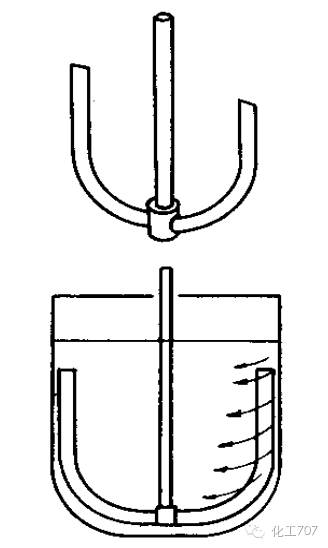
2. 推进式搅拌器

推进式搅拌器,搅拌时能使物料在反应釜内循环流动,所起作用以容积循环为主,剪切作用较小,上下翻腾效果良好。当需要有更大的流速时,反应釜内设有导流筒。
标准推进式搅拌器有三瓣叶片,其螺距与桨直径d相等。推进式搅拌器直径约取反应釜内径Di的1/4~1/3,300~600r/min,搅拌器的材料常用铸铁和铸钢。
推进式搅拌器的特点:
轴向流搅拌器;
循环量大,搅拌功率小;
结构简单、制造方便;
常用于低粘流体中。
3. 涡轮式搅拌器


涡轮搅拌器速度较大,300~600r/min。直叶和弯叶涡轮搅拌器主要产生径向流,折叶涡轮搅拌器主要产生轴向流。
涡轮搅拌器的主要优点是当能量消耗不大时,搅拌效率较高,搅拌产生很强的径向流。因此它适用于乳浊液、悬浮液等。

4. 锚式搅拌器

适用于粘度在100Pa·s以下的流体搅拌,当流体粘度在10~100Pa·s时,可在锚式桨中间加一横桨叶,即为框式搅拌器,以增加容器中部的混合。
锚式搅拌器的特点:
结构简单,制造方便;
适用于粘度大、处理量大的物料;
易得到大的表面传热系数;
可减少“挂壁”的产生。

反应釜搅拌器的选型

一、按搅拌目的选型


二、按搅拌器型式和适用条件选型

☟ ☟ ☟
推荐企业:临沂市海鑫化工设备有限公司是国家搪玻璃设备及D1、D2级压力容器制造的定点骨干企业之一,中国化工装备协会会员单位。生产搪玻璃反应釜、储罐、蒸馏釜、各类管件及塔节,非标一、二类压力容器,不锈钢反应釜、容器等产品,搪玻璃设备制造涵盖50~30000L,基本满足我国化工行业对搪玻璃设备的需求。在搪玻璃设备的技术、维护和修补等方面非常专业。【详情点击(优势资源推荐:临沂市海鑫化工设备有限公司入驻化工邦平台)】
海鑫联系方式:
联系人:孙经理
电话:15275395551
传真:0539-8508939/8500953
地址:中国山东临沂罗庄区付庄工业园
(来源:化工707,如有侵权请联系删除)

化工邦致力于化工人脉和资源的对接,通过化工邦的移动平台,通过化工邦的社交平台!让我们相互认识,相互信任,一起相互合作!目前我们终于有了自已的通讯录--化工行业通讯录!【点击查看详情(号外!号外!化工人自已的通讯录开通啦!让我们一起成为邦友吧!)】
也欢迎大家点击下方“阅读原文”进入化工行业通讯录进行体验!
DAMO开发者矩阵,由阿里巴巴达摩院和中国互联网协会联合发起,致力于探讨最前沿的技术趋势与应用成果,搭建高质量的交流与分享平台,推动技术创新与产业应用链接,围绕“人工智能与新型计算”构建开放共享的开发者生态。
更多推荐


所有评论(0)