计算机毕业设计springboot+vue的小学生托管系统 基于Spring Boot与Vue.js的小学生托管管理系统开发 小学生托管服务平台的Spring Boot与Vue.js架构实现
计算机毕业设计springboot+vue的小学生托管系统id2239(配套有源码 程序 mysql数据库 论文)本套源码可以先看具体功能演示视频领取,文末有联xi 可分享在当今数字化时代,随着互联网技术的飞速发展,传统的小学生托管管理方式已难以满足现代社会的需求。以往人工管理小学生托管信息存在诸多不便,如数据量大、查找困难、效率低下等问题。为了提高小学生托管管理的效率和准确性,降低管理成本,开发
计算机毕业设计springboot+vue的小学生托管系统id2239(配套有源码 程序 mysql数据库 论文)本套源码可以先看具体功能演示视频领取,文末有联xi 可分享
在当今数字化时代,随着互联网技术的飞速发展,传统的小学生托管管理方式已难以满足现代社会的需求。以往人工管理小学生托管信息存在诸多不便,如数据量大、查找困难、效率低下等问题。为了提高小学生托管管理的效率和准确性,降低管理成本,开发一套基于现代信息技术的小学生托管管理系统显得尤为重要。本文将介绍一个采用Spring Boot与Vue.js技术栈构建的小学生托管系统,旨在为小学生托管管理提供高效、便捷的解决方案。
该系统的主要功能包括:
-
首页:展示系统的主要信息和导航功能,方便用户快速进入各个模块。
-
个人中心:用户可以在此更新个人信息,查看个人相关数据。
-
班级管理:对班级信息进行增删改查操作,方便管理员管理班级。
-
教师管理:管理教师信息,包括教师的个人信息、班级分配等。
-
学生管理:对学生信息进行管理,包括学生的基本信息、班级分配等。
-
家长管理:管理家长信息,方便与家长进行沟通和信息共享。
-
通知类型管理:对通知的类型进行分类管理,便于后续通知的发布。
-
通知信息管理:发布、查看和管理通知信息,确保信息及时传达给相关人员。
-
每日菜谱管理:发布和管理每日菜谱,方便家长和学生了解饮食安排。
-
作业信息管理:发布、查看和管理作业信息,方便教师布置作业和学生查看作业。
-
反馈记录管理:收集和管理用户的反馈信息,方便管理员及时处理问题。
-
学生考勤管理:记录学生的考勤情况,方便教师和家长了解学生的出勤情况。
-
教师评价管理:对教师的教学进行评价,方便家长了解教师的教学质量。
-
系统管理:对系统的基本信息进行管理,包括系统设置、用户权限管理等。
这些功能涵盖了小学生托管管理的各个方面,从学生、教师到家长,从日常管理到信息共享,为用户提供了一个全面、高效、便捷的管理平台。通过这套系统,可以大大提高小学生托管管理的效率,减少人工管理的繁琐流程,同时也为学生、教师和家长提供了更好的沟通和互动平台。
注:以上是纯课题毕业设计介绍,并非实际开发完成,最终开发完成的毕业设计程序以下面的的环境软件、功能图和界面为准。
系统所需要的环境软件:idea、eclipse+mysql5.7、8.0+Navicat+JDK1.8+tomcat7.0
3系统分析
3.1整体分析
系统的分析主要分为两种,一种是需求分析,需求分析的意义在于能更快地把这个系统的架构逻辑都整理分析清楚,另一种是功能分析,功能分析的意义在于分析如何更快地处理整个系统的细节部分。
根据查阅资料分析,小学生托管系统主要是每个内部使用,为使用者提供可视化的小学生托管来支撑服务。该系统管理系统的设计与实现主要是为了解决当前小学生托管管理繁杂的问题,实现高效率的规范化管理。本系统的设计实现不仅要满足当前的需要,还需具备良好的可发展性以满足未来发展的需要。
本系统通过分模块设计,主要实现首页、个人中心、班级管理、教师管理、学生管理、家长管理、通知类型管理、通知信息管理、每日菜谱管理、作业信息管理、反馈记录管理、学生考勤管理、教师评价管理、系统管理等的一体化管理。此外,该系统属于B/S结构,简单易上手,只需体验几次,用户就可以很熟练地使用各种功能。
3.2功能需求分析
小学生托管管理是现如今社会信息交流中一个重要的组成部分,本文将从小学生托管管理的需求和现状进行分析,使得本系统的设计实现具有可使用的价。做出一个实用性好的小学生托管系统,使其能满足学生、教师和家长的需求,并可以让学生、教师和家长更方便快捷地查找小学生托管相关信息。小学生托管系统的设计开发,目的主要是为了简化小学生托管的管理过程,使管理员更好地完成工作,在工作中实现高效快捷的管理效率。
本文从小学生托管管理的实际需要出发,为降低系统的耦合性,采用springboot+vue框架集完成了系统总体架构的设计,以提高系统的重用性、可适用性及可维护性。系统包括管理员、学生、教师和家长四个角色;
管理员用例如下所示:
图3-1管理员用例图
教师用例如下所示:
图3-2教师用例图
家长用例如下所示:
图3-3家长用例图
学生用例如下所示:
图3-4学生用例图
3.3 系统可行性分析
3.3.1技术可行性
技术可行性研究通过是否,在于对目前技术和硬件设备的剖析。系统软件开发应用的计算机语种是Java。Java语言从问世到现在不断强化,已经十分完善。运用覆盖面广,合乎开发必须。应用MySQL数据库作为数据储存,十分具有安全性,对配备规定低。这是一个经常使用的数据库。前端采用Java技术,就可以进行开发设计,让网页页面看上去又漂亮又大方,还方便维护。最终,开发环境是IDEA,因为其中包含框架和函数等等,可以立即应用。因此在技术方面是可行的。
3.3.2经济可行性
经济发展的可行性分析要从开发商的经济发展能力和用户必须的成本费2个层面来剖析。为了更好地减少项目成本,系统软件应用IDEA做为开源版本。数据库查询是开源MySQL数据库和配置好操作系统的电子计算机。用户通常挑选Tomcat 7.0做为系统软件所处的网络服务器,而电脑浏览器应用出色的IE、火狐和Google更全方位地展现CSS网页页面,进而推动系统升级维护保养,控制成本。如此看来,处于经济层面的考虑,进行开发没有阻碍。
3.3.3操作可行性
本小学生托管系统选用B/S构造,用户不用安装其他软件就可以轻轻松松掌握和娴熟应用。与此同时,因为系统是基于springboot+vue的,可以实现客户端的请求和服务器的端口组件,解决数据库文件的数据并回到结论。为了更好地组建和储存数据,数据库可以确保数据的一致性。一旦对数据开展操作,工作会越来越更简易,工作量也会降低。全部操作都由系统自身操纵。该系统大大减少了有关工作人员的工作量,也更便捷的让工作人员掌握具体操作全过程。既加速了工作效率,又下降了错误率。在操作上是可行的。
经过总结,该系统在经济、技术和操作方面都符合要求,并且是具有可行性的。
3.4系统流程分析
3.4.1操作流程
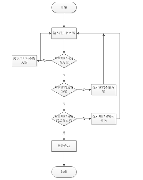
首先为系统登录页面。进入页面后,用户可进行登录和注册的操作。点击登录后,页面就会出现一个登录提示框,向用户传达信息:要进行用户名和密码的输入,完成后才可以进行下一步的操作。用户输入完成后,系统会将输入的信息提交给后台,与数据库中的信息记录进行比较判断。判断比较内容主要分为三个方面:从用户名是否为空、输入的密码是否为空、用户名和密码是否匹配三方面进行判断。只有上述三个条件同时满足,数据库中的信息匹配正确,才视为登陆成功,方可完成后续的操作。若以上三种情况有一条不满足,则会提示该次登录错误,就需要进行重新登录。系统登录流程图如图3-5所示:
图3-5登录流程图
3.4.2添加信息流程
然后是添加信息的页面。进入该页面后,页面会出现一个提示框,示意操作者可以进行信息的添加,从而进行下一步的操作。用户输入想要添加的信息后提交,系统会对输入的内容进行检测。如果检测后输入的信息正确,则会出现“添加成功”的提示框,从而可以进行下一步操作;如果系统检测后检测到想要添加的信息不符合规范要求,则会提示报错,需要进行修改后重新添加。添加信息流程图如图3-6所示:
图3-6添加信息流程图
3.4.3删除信息流程
最后为删除信息页面。进入该页面后,用户可以对所要删除的信息进行选择,选择好删除的内容后,会有一个“是否确认删除”的提示框,操作者可以根据自己的意愿来选择“是”或“否”。完成上述操作,系统会自动的对删除的内容进行判断,如果符合删除要求则会成功删除数据记录,并且更新数据库的内容信息;如果删除的数据记录不符合要求,则会有一个“删除失败”的提示框,操作人员需要根据提示来进行修改,修改完成后重新删除知道删除成功。删除信息流程图如图3-7所示:
图3-7删除信息流程图
4系统设计
4.1 系统体系结构

图4-1系统结构
登录系统结构图,如图4-2所示:

图4-2登录结构图
4.2 系统总功能结构设计
系统按照用户的实际需求开发而来,贴近生活。从管理员通过正确的账号的密码进入系统,可以使用相关的系统应用。管理员总体负责整体系统的运行维护,统筹协调。
系统整体模块设计:系统分为管理员、学生、教师和家长四大角色,系统管理员有最大的权限,总体功能展示如图4-3所示。

图4-3系统总体功能图
4.3 数据库设计
数据库设计(Database Design)是针对特定的数据库管理体系,针对特定的数据库进行结构和构建的流程。
在信息系统的开发与推荐中,数据库的设计是实现数据库与应用的关键技术。因为数据库应用系统的复杂性,使得数据库的开发工作非常复杂,所以优化的设计不是一朝一夕就可以完成的,而是一个“循序渐进”的过程,即将数据库中的数据目标和它们的相互关系进行计划和组织。
通过对小学生托管系统的主要功能信息进行规划并分为若干功能实体信息[14],实体信息将使用E-R图加以表示,本系统的主要功能实体图如下图所示:

图4-4反馈记录实体属性图

图4-5通知信息实体属性图

图4-6作业信息实体属性图

图4-7每日菜谱实体属性图
5.1系统功能实现
当人们打开系统的网址后,首先看到的就是首页界面。在这里,人们能够看到小学生托管系统的导航条,通过导航条导航进入各功能展示页面进行操作。系统首页界面如图5-1所示:

图5-1系统首页界面
系统注册:在系统注册页面的输入栏中输入学生注册信息进行注册操作,系统注册页面如图5-2所示:

图5-2系统注册页面
通知信息:在通知信息页面的输入栏中输入通知名称、通知类型和发布日期进行查询,可以查看到通知详细信息,并根据需要进行或收藏操作;通知信息页面如图5-3所示:

图5-3通知信息详细页面
每日菜谱:在每日菜谱页面的输入栏中输入菜谱名称、菜谱分类、菜谱食材、调味料、菜谱菜系和发布日期进行查询,可以查看到每日菜谱详细信息,并进行收藏操作,每日菜谱页面如图5-4所示:

图5-4每日菜谱详细页面
作业信息:在作业信息页面的输入栏中输入作业名称、作业班级、作业要求、教师工号和作业文件进行查询,可以查看到作业详细信息,并进行在线反馈或收藏操作,作业信息页面如图5-5所示:

图5-5作业信息详细页面
个人中心:在个人中心页面通过填写个人详细信息进行信息更新,并根据需要对我的收藏进行操作,个人中心如图5-6所示:

图5-6个人中心界面
5.2后台模块实现
后台用户登录,在登录页面选择需要登录的角色,在正确输入用户名和密码后,进入操作系统进行操作;如图5-7所示。

图5-7后台登录界面
5.2.1管理员模块实现
管理员进入主页面,主要功能包括对首页、个人中心、班级管理、教师管理、学生管理、家长管理、通知类型管理、通知信息管理、每日菜谱管理、作业信息管理、反馈记录管理、学生考勤管理、教师评价管理、系统管理等进行操作。管理员主页面如图5-8所示:

图5-8 管理员主界面
管理员点击班级管理。在班级页面输入班级进行查询、新增或删除班级列表,并根据需要对班级详情信息进行详情、修改或删除操作;如图5-9所示:

图5-9班级管理界面
管理员点击教师管理。在教师页面输入教师工号、教师姓名、选择性别和选择班级进行查询、新增或删除教师列表,并根据需要对用户详情信息进行详情、修改或删除操作;如图5-10所示:

图5-10教师管理界面
管理员点击学生管理。在学生页面输入学生姓名、选择学生性别和学生班级进行查询、新增或删除学生列表,并根据需要对学生详情信息进行详情、修改或删除操作;如图5-11所示:

图5-11学生管理界面
管理员点击通知类型管理。在通知类型页面输入通知类型进行查询、新增或删除通知类型列表,并根据需要对通知类型详情信息进行详情、修改或删除操作;如图5-12所示:

图5-12通知类型管理界面
管理员点击通知信息管理。在通知信息页面输入通知名称进行查询、新增或删除通知信息列表,并根据需要对通知详情信息进行详情、修改或删除操作;如图5-13所示:

图5-13通知信息管理界面
管理员点击每日菜谱管理。在每日菜谱页面输入菜谱名称、菜谱分类、菜谱食材、调味料和菜谱菜系进行查询、新增或删除每日菜谱列表,并根据需要对每日菜谱详情信息进行详情、修改或删除操作;如图5-14所示:

图5-14每日菜谱管理界面
管理员点击作业信息管理。在作业信息页面输入作业名称进行查询或删除作业信息列表,并根据需要对作业详情信息进行详情、修改或删除操作;如图5-15所示:

图5-15作业信息管理界面
源码无偿分享,文未领取
DAMO开发者矩阵,由阿里巴巴达摩院和中国互联网协会联合发起,致力于探讨最前沿的技术趋势与应用成果,搭建高质量的交流与分享平台,推动技术创新与产业应用链接,围绕“人工智能与新型计算”构建开放共享的开发者生态。
更多推荐


所有评论(0)