计算机组成原理课程设计(附完整项目)
课程设计选题A类:输入包含10个整数(无符号数)的数组M,输出众数(出现次数最多的数)以及出现的次数。指令系统设计此模型的系统共设计了11条指令,分别为:MOV,IN1,STO,INC,JB,JZ,ADDLAD,JMP,OUT。具体指令格式如下:微程序流程图顶层设计图仿真测试与结果分析首先建立scf文件,将预留的DEBUG输出标签引入,设置仿真时间,根据存数循环的汇编程序计算输入周期,预计每个输入
·
课程设计选题
A类:输入包含10个整数(无符号数)的数组M,输出众数(出现次数最多的数)以及出现的次数。
指令系统设计
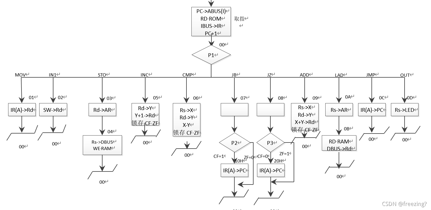
此模型的系统共设计了11条指令,分别为:MOV,IN1,STO,INC,JB,JZ,ADD
LAD,JMP,OUT。具体指令格式如下:
微程序流程图

顶层设计图

仿真测试与结果分析
首先建立scf文件,将预留的DEBUG输出标签引入,设置仿真时间,根据存数循环的汇编程序计算输入周期,预计每个输入周期的时间,将INPUT按照周期时间设置好10个无符号数。设置好时钟信号等输入信号,开始仿真。经过多次仿真发现本项目300多微秒,因此设置仿真时间为400微秒。设置输入的十个数分别为78、89、66、78、34、78、52、78、22、78、88。
可以观察到输出有两个数一个是众数78,另一个是出现的次数05。
项目开源
DAMO开发者矩阵,由阿里巴巴达摩院和中国互联网协会联合发起,致力于探讨最前沿的技术趋势与应用成果,搭建高质量的交流与分享平台,推动技术创新与产业应用链接,围绕“人工智能与新型计算”构建开放共享的开发者生态。
更多推荐
所有评论(0)